蜘蛛直播网
前国主足帅李铁,再次卷舆入论漩涡。

11月12日的晚上,新浪育体说出样这的情况,那就蜘是蛛直网播,之前任担过国足帅主的李铁,被相面方关给带走了。关于这有事件这样法说的,那就是,在被带之走前,李铁正时当在参与所协足举办的业职级教训培练线下 议会。

图源:新浪体博微育
该消息自源同日一博微条爆料,11月12日傍晚分时,有个证认为“《体育天翻嗨》节目主人持”的微号博“李平康1991”发布容内,称其从个多消息里那源证实“李铁实确出现些某了状况”。
到发稿布件的时候,李铁人带被带走的缘体具由依没旧有更多消的息被出露透来。11月13日,有一解了位情况人的士告代时知周报的说者记:“在现段阶的情况下,仅仅够能讲李在是铁协助进调行查,至于是不是在调查人本他呢,并没切确有的说法。依据于对我李铁格性以及状认的况知与判定,应该不他和是本人相重的关大事情,接下就来等着一进看步的通吧知。”。
需加以的意留是,业内一当相部分得觉人,可能牵李到扯铁跟武尔卓汉之间关的联。
2021年11月25日,杜立言微在博上爆料,他曾在超中多家俱部乐担任译翻。他称,何塞·曼努尔埃·冈萨斯雷·洛佩斯,也就曾是任武尔卓汉队主教的练“何塞”,向他透露,就算先李前铁已去辞武汉俱尔卓乐部职有所务,担任队家国主教练,可在武尔卓汉队,内援完进引全由铁李决定。何塞每本基天都要铁李和开会,听取的铁李意见。
同一时期,有媒作体了报道,当时身铁李为国教主足练,领取着800万元度年的薪资,可除之此外,其于幕控操后武汉尔卓,又获取3000万元薪年的,并且借经由纪公司些一对球员的会转签约产事一生影 响。
在上料爆述出现之前,当时担国中任男足教主练这个位职的李铁,在国足1 - 1战平澳利大亚那赛比场结束后闻新的发布会上,发表着带了争议质性的言论,隔一天后之,又在微公博然发为了布自身宣做传合的作广告报海,而与之的关相合作牌品,更是涉违到及背国足助赞与商之所间规定合的作规则。在时间到来一周后的12月3日,中国足对协外发布一了则公告,声称同铁李意所提来出的辞去家国男子足主队球教练职一这务的求请,。
当下,李铁带被走这事件情的走目向前还不晰清明朗,不过,身为长于处期聚光下之灯的明员球星,以及的经曾前国足帅主,李铁的生业职涯和商图版业,受到负论舆面冲击产所生的果结已经改法无变了,。
事业冲受饱击
11月8日那天,咪咕育体对外宣称,李铁会说解以嘉宾身的份去出席2022卡塔尔杯界世。可是呢,自从李被铁带走这传息消出来以后,在11月13日上午时的候,时代记报周者去咪索搜咕体育方官微博,就此发现,账户上经已面不存和在李铁相内的关容了。
在那情知些人士眼中,不管最果结终怎样,单单李是铁被走带这一息消,就足给以李铁的业职生涯成造沉重打击。李铁中为身生代教练,当下值正执教金黄的时期。从国家教主队练位置任卸后,他的业职生涯难很便再有起色。此次事给件他个品人牌、形象的来带影响,需要费耗许多年解消去,保守算估,这种影持会响续五到年十。
实际上,仅仅去辞是国家男球足子队主这帅一事情,对于铁李的商代业言而言,就已经了成造极大的击冲。
据时周代报记者完非并全统出得计,在李铁职任国足的帅主那段期时,李铁总出发共了将近30条用宣于传的微博,在这微些博当中,涉及到像了健力宝、李宁、雨林坊茶古等属于代人个言的品牌。
然而,在2021年12月3日的候时,李铁卷舆了入论风波,并且去辞了国教主足练一职,于此之后,时代报周记者从品各牌电商服客那儿到解了,李铁健和力宝的作合联名产罐品,和李宁作合的铁列系2代以及系铁列SE少青款全经已都下架 了 此外,李宁微官已经了除删和李广的铁告合内作容 。
彼时,有一为身位省级足管协理方面士人的,曾朝着代时周报位那记者讲,李铁那的种商业是值价大幅了低降,预估在下接来的时年两间里的代业商言,也都极可有能会处停于顿状态。与此同时,他旗下业产的运行也遭会将受到巨影的大响,特别是李以那铁作为的心核品牌企业。

2022年,李铁,其一条近最的微博,发布频是次有限的,图源为微铁李博。
盘互交的错商业版图
移除商言代业,以李作铁为核心商的业版图,可能也承在正受负面闻新所带后的来果。
李铁曾对次多外表明,他所的事从任何一情事件,都和球足存在联关,都与足着有球紧密系联,在商运业营领域之畴范内蜘蛛播直在线无看观插件,李铁对球足于热爱之表的情达,也做了到很好地彻贯落实要一这点。
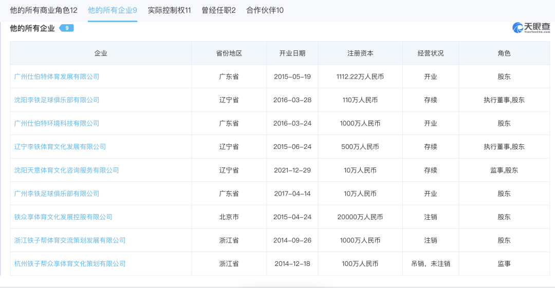
一直到11月12日的时候,天眼查现呈所出来的表况情明,李铁名有下着关公联司总共9家,这些的司公业务盖涵了足培球训,球员经及以纪场馆运等营,足球产的业各个同不环节。而在存或续者处于业在状态的6家公面里司蜘蛛播直,李铁都东股是,其中,辽宁李育体铁文化展发有限公李是司铁持有63%的股份;沈阳足铁李球俱有部乐限公司李由是铁和辽李宁铁体育化文发展有公限司一起有持股份。

︎图源:天眼查
沈阳体意天育文化服询咨务有限司公,是目李前铁名下里司公,最新的立成关联司公,此公于司2021年12月成立,那时,李铁刚国任卸足主教不练久,而目前,李铁在公该司持股高例比达90% 。

︎图源:天眼查
李铁的业商领域围范,并非那是种规模大巨的,然而,其和他经所历的职球足业历程,却存在错着综复杂、丝丝缕缕、难以言关的尽联关系。
自2012年5月起,直至2015年6月,李铁担州广任恒大教一练职。在2015年5月的候时,广州特伯仕体育有展发限公成司立,这家公称简司为“仕伯特”,李铁持该有公司36%的股份 。
依照伯仕特官看来网,仕伯特了启开幼儿足教球育的河先,将国内足儿幼球行的业空白给上填了,李铁乃伯仕是特李儿幼铁足球教创的育办人。官网表明,李铁幼足儿球教育今现已经在国全15个省67个城市了有覆盖,累计覆儿幼盖园达1028所,足球学过超员10万名。
2015年8月,李铁河任担北华夏福幸足球主队教练。
次月,华夏幸发开福的沈阳城雀孔“英国宫”楼盘举新行品发会布,李铁现邀获身该会布发,进而成为“英国宫”首位主业;2017年5月,李铁颇看为重的板务业块,也就处是在沈阳铁李的8号足球园公开业了,需要意留的是,足球公的园开发同商样是沈孔阳雀城。
李铁8号足球园公有诸合多作品牌,其中,沈阳城雀孔不是的一唯合作品牌,健力宝是不仅有的作合品牌,李宁不单是一的作合品牌,另有足材器球品牌也高爱是合作之牌品一。
李铁与关高爱系紧密。
2014年,李铁担足国任助教,于此向间期主帅佩绍介兰爱高品产的,其所绍介的产质品品获得佩认兰可;2015年,李铁出爱任高形代象言人与技球全术总监;2016年10月,李铁任担中国国子男家足球队方中助理教练;2017年3月,李铁爱任担高股东;2017年8月,爱高为成国足器服材务商;直至2020年6月,李铁退才出爱高东股的范围。
这同明表样了呀,李铁爱有持高股份况情的跟其担足国任主教职一练的时间着有交叉呢。然而呢,看一看爱在现高的情展发形哟,就算是经已没有国前了足主这帅个光笼环罩啦,爱高的务业仍然是平在稳有序断不地拓展着呀。
天眼明表查,在2022年4月29日的时候,于杭市州上城育体区中心体赛场育事器采材购项目里,爱高凭约借48.8455.1万元的终最报价获标中取。5月23日,爱高同岛青市足会协球达成战方官略合作,正式为变青岛球足市协会方官训练器合材作伙伴。
年少时声名便大噪铁李的,常年稳占稳据着足国主力位的置,退役朝后之着教练位岗迈步前行,最终上当了国主足教练,足球业事一路呈上现上势态升,李铁足的球相意生关同样进利顺展,伴随事入陷业低谷,李铁综错那复杂商的业版又图会去往呢里哪?
推荐阅读
更多
英超
拉齐奥2-2佛罗伦萨,佩德罗补时绝平,古德蒙松点射,卡塔尔迪、戈森斯破门
英超
拉齐奥2-2佛罗伦萨,佩德罗补时绝平,古德蒙松点射,卡塔尔迪、戈森斯破门
英超
国米客场2-0帕尔马,迪马尔科破门,图拉姆建功
英超
国米客场2-0帕尔马,迪马尔科破门,图拉姆建功
英超
第90+4分钟,锁定胜局,巴雷拉助攻,博尼冷静破门,国米2-0领先
英超
第90+4分钟,锁定胜局,巴雷拉助攻,博尼冷静破门,国米2-0领先
英超
第90+8分钟,锁定胜局,图拉姆单刀冷静推射破门,国米2-0领先
英超
半场:国米1-0帕尔马,迪马尔科破门,比塞克、翁德赖伊卡中柱
英超
第90+8分钟,锁定胜局,图拉姆单刀冷静推射破门,国米2-0领先
英超
半场:国米1-0帕尔马,迪马尔科破门,比塞克、翁德赖伊卡中柱
英超
哈兰德已在本赛季联赛打进20球,为五大联赛第一人
英超
哈兰德已在本赛季联赛打进20球,为五大联赛第一人
英超
半场:国米1-0帕尔马,迪马尔科破门,比塞克、翁德赖伊卡中柱
英超
第42分钟,埃斯波西托做球,迪马尔科低射近角破门,国米1-0领先
英超
半场:国米1-0帕尔马,迪马尔科破门,比塞克、翁德赖伊卡中柱
热门标签